Ciência da Computação - Modelo de Entidade-Relacionamento - Centro de Seleção e de Promoção de Eventos UnB (CESPE) - 2008

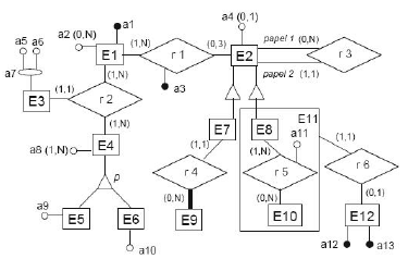
Em relação a bancos de dados relacionais e diagramas de entidade-relacionamento (E-R), julgue os itens a seguir, tendo como referência a figura acima.
O esquema conceitual consiste em uma descrição concisa dos requisitos dos usuários e inclui descrições detalhadas dos tipos de dados, relacionamentos e restrições. A chave estrangeira é o atributo de uma entidade que é chave primária de outra entidade.
{TITLE}
{CONTENT}
{TITLE}
Aguarde, enviando solicitação...