Atenção: analise o texto e a figura a seguir e responda às questões 55 e 56.
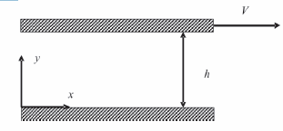
Considere duas placas planas, longas, entre as quais escoa um fluido incompressível, conforme representado na figura a seguir:

Admitindo um escoamento laminar, completamente desenvolvido, onde a placa superior possui uma velocidade nula (V = 0) e que o gradiente de pressão é negativo, o perfil de velocidade é:
linear.
parabólico, com velocidades no sentido positivo do eixo x.
parabólico, com velocidades no sentido negativo do eixo x.
cúbico.
exponencial.
{TITLE}
{CONTENT}
{TITLE}
Aguarde, enviando solicitação...