Lista completa de Questões de Arquitetura do ano 2007 para resolução totalmente grátis. Selecione os assuntos no filtro de questões e comece a resolver exercícios.
Quanto ao uso de alvenaria estrutural em edifícios ou mesmo residências térreas, é INCORRETO afirmar que:
dispensam completamente qualquer tipo de revestimento interno ou externo.
seu custo de construção é inferior ao convencional (concreto/alvenaria).
as reformas internas são mais onerosas e difíceis que as similares em concreto.
os projetos de arquitetura devem ser modulados em função do bloco.
as instalações hidráulicas, elétricas, etc, são de execução mais trabalhosa.
Atenção: Considere o texto e a figura abaixo para responder as questões de número 59 e 60.
Em um conjunto habitacional constituído de três edifícios mais equipamentos coletivos e implantado em um terreno de 6.400 m2, edificam-se o total de 16.000 m2 de área construída em 5 pavimentos. No pavimento térreo, 640 m2 foram destinados à apartamentos de 3 dormitórios, 640 m2 foram destinados a lojas comerciais e o restante a equipamentos coletivos, totalizando 1.920 m2. Os outros 4 pavimentos de cada edifício, com 1.520 m2 cada um, foram reservados a apartamentos de um ou dois dormitórios.

A área de projeção e a área computável são, em m2:
640 e 14.720
1.280 e 15.360
1.920 e 15.360
2.560 e 16.000
2.560 e 16.000
Não é necessário prever juntas de movimentação (expansão, contração ou dissolidarização) em pisos ou paredes revestidas de cerâmica ou azulejo:
em todo encontro parede/forro.
em todo encontro do revestimento com pilares e vigas.
em todo o perímetro do piso.
a cada 2,0 m, em cada direção.
onde ocorrerem mudanças de materiais que compõem a base (laje/terra, alvenaria/concreto, etc).
Um edifício tem uma área construída de 6000 m2, dos quais 7500 m2 correspondem a área da estrutura de concreto cuja espessura média é de 20 cm. O custo da estrutura, em reais, é de:

2.028.000,00.
1.622.400,00.
1.560.000,00.
1.248.000,00.
1.200.000,00.
Atenção: Para responder às questões de números 55 a 57 considere as informações abaixo.
− Imóvel de 10 pavimentos (1º ao 10º pavimento) iguais (pavimento tipo) mais portaria e garagens
− 4 apartamentos por andar, sendo dois com área de 150 m2 cada e dois com área de 100 m2 cada
− Área total edificada = 6000 m2− Área do terreno = 20 x 40 = 800 m2 − Valor de venda do terreno = R$ 800.000,00
A cota da área de construção de condomínio pertencente a cada apartamento de 150 m2 e 110 m2, respectivamente, é aproximadamente de
25 e 17
30 e 20
45 e 30
50 e 33
60 e 40
Atenção: Para responder às questões de números 55 a 57 considere as informações abaixo.
− Imóvel de 10 pavimentos (1º ao 10º pavimento) iguais (pavimento tipo) mais portaria e garagens
− 4 apartamentos por andar, sendo dois com área de 150 m2 cada e dois com área de 100 m2 cada
− Área total edificada = 6000 m2− Área do terreno = 20 x 40 = 800 m2 − Valor de venda do terreno = R$ 800.000,00
A área de construção da unidade autônoma de cada apartamento de 150 m2 e 110 m2, respectivamente, é aproximadamente de:
150 e 100
175 e 117
180 e 120
195 e 130
200 e 133
Atenção: Para responder às questões de números 61 a 70 considere o texto e a figura abaixo.
Denunciado por desrespeito a Legislação Municipal de Uso e Ocupação do Solo e invasão de propriedades alheias, um cidadão alegou que seu terreno é, na realidade, maior do que consta na escritura. Além da constatação do fato no local, não havia documentos oficiais (escrituras, registros de imóvel, etc) que provassem as medidas reais do terreno.

Obedecendo os recuos estabelecidos pelo município e área de ocupação máxima a área retangular de projeção horizontal, em m2 e seus respectivos lados, em m, são respectivamente e aproximadamente de:
720 e 20,0 × 36,0
820 e 20,0 × 41,0
845 e 25,0 × 33,8
920 e 25,0 × 36,8
945 e 25,0 × 39,0
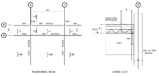
Considere o segmento de planta e o respectivo corte do projeto executivo da estrutura metálica abaixo.
 
Sabendo-se que a bitola dos perfis está expressa em mm (altura nominal) x kg/m, considere as seguintes características desta estrutura:
I. A viga VM17 possui massa linear maior que o pilar PM4.
II. As vigas VM1 e VM3 possuem alturas semelhantes e a VM3 é mais pesada.
III. As vigas VM1 e VM3 estão apoiadas na viga VM17.
Está correto o que se afirma em
NAS QUESTÕES NUMERADAS DE 16 A 40, ASSINALE A ÚNICA ALTERNATIVA QUE RESPONDE CORRETAMENTE AO ENUNCIADO
Na arquitetura do centro histórico de Belém, existe um representativo acervo de monumentos da arquitetura religiosa. Esses monumentos apresentam um processo construtivo, como paredes em pedra argamassada e, curiosamente, as espessuras das paredes são de aproximadamente dois metros. Esse processo é caracterizado por pedras:
assentadas de tal maneira que se sustentam pelo próprio peso, sem haver necessidade de argamassa entre elas, o acabamento é obtido pela interpolação com pedras menores.
justapostas, em que é usado a cal ou barro como principal aglutinante para o seu assentamento.
justapostas, em que é usada a argamassa de cimento, como principal aglutinante para o seu assentamento.
aparelhadas, justapostas rejuntadas com argamassa de cimento, cal e areia
Entre as desvantagens da construção industrializada em relação à construção tradicional de canteiro, tem-se
mão-de-obra mais estável e com mais possibilidades de qualificação profissional.
{TITLE}
{CONTENT}
{TITLE}
 
        Aguarde, enviando solicitação...