Lista completa de Questões sobre CAD/AutoCAD para resolução totalmente grátis. Selecione os assuntos no filtro de questões e comece a resolver exercícios.
O AutoCAD possui muitos comandos auxiliares do desenho. No que se refere a esses comandos e suas aplicações, julgue os itens a seguir.
O comando Zoom -> Window permite abrir uma janela de seleção com o auxílio do cursor para ampliar apenas a área abrangida pela janela.
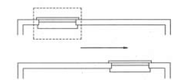
O AutoCAD possui muitos comandos auxiliares do desenho. No que se refere a esses comandos e suas aplicações, julgue os itens a seguir.
O reposicionamento de uma janela, como ilustrado na figura abaixo, pode ser obtido a partir do comando Stretch, que permite mover parte de um desenho enquanto se preserva as conexões dessa parte com os demais traçados.

O AutoCAD possui muitos comandos auxiliares do desenho. No que se refere a esses comandos e suas aplicações, julgue os itens a seguir.
As entidades de desenho podem ser movidas por meio dos seus pontos de controle. O deslocamento desses pontos pode ser gerado pelo movimento do cursor do mouse ou pela entrada de coordenadas polares na linha de comando.
O AutoCAD possui muitos comandos auxiliares do desenho. No que se refere a esses comandos e suas aplicações, julgue os itens a seguir.
O comando List, usado em um polígono, relaciona informações tais como área e perímetro do polígono, dimensão linear e coordenadas absolutas das extremidades de cada aresta e o ângulo entre cada par de arestas.

Considerando a figura acima e o fato de que as versões mais recentes do AutoCAD permitem elaborar modelos 3D associados a bancos de dados e de informações utilizados como base para estudo, representação, avaliação e obtenção das vistas ortográficas, julgue os itens que se seguem.
O conector da figura considerada poderia ter sido construído com técnicas da geometria construtiva de sólidos (CSG), na qual cada uma das partes é descrita por uma vista ortográfica de um perfil que ganha espessura por extrusão.

Considerando a figura acima e o fato de que as versões mais recentes do AutoCAD permitem elaborar modelos 3D associados a bancos de dados e de informações utilizados como base para estudo, representação, avaliação e obtenção das vistas ortográficas, julgue os itens que se seguem.
O conector mostrado na figura pode ser construído como modelo sólido utilizando apenas dois tipos de sólidos primitivos paralelepípedo e cilindro combinados em operações booleanas de união e subtração.
Atualmente, os arquitetos utilizam a informática como auxílio na área de desenho gráfico, facilitando assim sua produção e desempenho profissional. Considerando o aplicativo AutoCAD, julgue os itens a seguir.
O comando List relaciona todas as propriedades de um ou mais objetos selecionados, enumera o tipo de objeto, seu layer, a posição X,Y,Z relativa à UCS atual e indica se o objeto ou entidade foi extraído de outro programa gráfico.

Considerando a figura acima e o fato de que as versões mais recentes do AutoCAD permitem elaborar modelos 3D associados a bancos de dados e de informações utilizados como base para estudo, representação, avaliação e obtenção das vistas ortográficas, julgue os itens que se seguem.
No AutoCAD, pode-se construir o conector da figura como modelo sólido, utilizando-se apenas dois tipos de sólidos primitivos paralelepípedo e cilindro combinados em operações booleanas de união e subtração.

Considerando a figura acima e o fato de que as versões mais recentes do AutoCAD permitem elaborar modelos 3D associados a bancos de dados e de informações utilizados como base para estudo, representação, avaliação e obtenção das vistas ortográficas, julgue os itens que se seguem.
Entre os muitos recursos auxiliares do estudo e da visualização existentes no modo 3D do AutoCAD, estão os comandos Section e Slice. Aquele gera uma seção plana em um sólido, enquanto este gera fatias longitudinais do sólido.

Considerando a figura acima e o fato de que as versões mais recentes do AutoCAD permitem elaborar modelos 3D associados a bancos de dados e de informações utilizados como base para estudo, representação, avaliação e obtenção das vistas ortográficas, julgue os itens que se seguem.
Pode-se construir o apêndice horizontal do conector da figura mostrada tão-somente pela combinação de um cilindro vazado com um paralelepípedo em uma operação booleana de união.
{TITLE}
{CONTENT}
{TITLE}
Aguarde, enviando solicitação...