Lista completa de Questões sobre Mecânica de veículos para resolução totalmente grátis. Selecione os assuntos no filtro de questões e comece a resolver exercícios.
Conhecimentos Técnicos de um determinado Cargo/Área - Mecânica de veículos - Fundação Carlos Chagas (FCC) - 2008
Em mecanismos oscilantes, com carga variável, tendo como agravante um limitado espaço radial para a montagem de apoios, deve-se optar por rolamentos
de agulhas.
de esferas fixos.
de rolos cônicos.
de rolos cilíndricos.
auto compensadores de esferas.
Conhecimentos Técnicos de um determinado Cargo/Área - Mecânica de veículos - Fundação Carlos Chagas (FCC) - 2008
O meio de resfriamento recomendado num processo de têmpera de uma ferramenta de aço rápido é o banho em
água.
solução de soda cáustica.
sais e metais fundidos.
óleo mineral.
Conhecimentos Técnicos de um determinado Cargo/Área - Mecânica de veículos - Fundação Carlos Chagas (FCC) - 2008
Um aço de fácil usinagem, caracterizado pelo alto teor de enxofre e 0,4% de carbono em sua composição química, pela norma ABNT é designado pelo número
1040
1140
4340
5140
8640
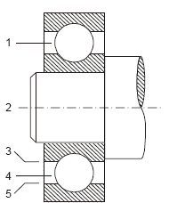
Conhecimentos Técnicos de um determinado Cargo/Área - Mecânica de veículos - Fundação Carlos Chagas (FCC) - 2008
A figura abaixo representa um rolamento rígido de esferas lubrificado em banho de óleo.

Nesse caso, com o rolamento parado, a altura do óleo deve estar no nível
1
2
3
4
5
Conhecimentos Técnicos de um determinado Cargo/Área - Mecânica de veículos - Fundação Carlos Chagas (FCC) - 2008
Em uma guia de requisição de materiais, no item rebolo, foi especificado pelo técnico o código A36K6V. Neste código, a dureza do aglomerante é dada por
V
36
A
6
K
Conhecimentos Técnicos de um determinado Cargo/Área - Mecânica de veículos - Fundação Carlos Chagas (FCC) - 2008
Na afiação de uma ferramenta de aço rápido, o rebolo a ser utilizado deverá apresentar
grau macio.
granulagem graúda.
maior espaçamento entre os grãos.
abrasivos siliciosos.
aglomerante elástico.
Conhecimentos Técnicos de um determinado Cargo/Área - Mecânica de veículos - Fundação Carlos Chagas (FCC) - 2008
Em uma ECDR - engrenagem cilíndrica de dentes retos, perfil envolvente, o parâmetro definido no sistema métrico como módulo é dado pela relação entre
o diâmetro externo e o número de dentes da engrenagem.

a altura da cabeça do dente e o número 2.
o diâmetro primitivo e o passo.
o diâmetro de base e o seno do ângulo de pressão.
Conhecimentos Técnicos de um determinado Cargo/Área - Mecânica de veículos - Fundação Carlos Chagas (FCC) - 2008
Uma das práticas elementares de um mecânico consiste na identificação do tipo de material a partir da observação do aspecto da fagulha liberada por ele (material), quando desbastado pela ação de um esmeril. As figuras I e II representam o aspecto da faísca liberada pelo material quando da usinagem do centro e da periferia, respectivamente.

Analisando as figuras, é possível concluir tratar-se de uma peça
de ferro fundido branco.
temperada e revenida.
com tratamento térmico superficial.
de aço altamente ligado.
de aço de baixo teor de carbono.
Conhecimentos Técnicos de um determinado Cargo/Área - Mecânica de veículos - Fundação Carlos Chagas (FCC) - 2008
A figura abaixo mostra a posição de ataque de uma ferramenta para o torneamento de uma peça.

A altura da ferramenta de corte em relação ao eixo geométrico do torno é recomendada no processo de
desbaste.
acabamento.
faceamento.
filetagem.
sangramento.
Conhecimentos Técnicos de um determinado Cargo/Área - Mecânica de veículos - Fundação Carlos Chagas (FCC) - 2008
Peças cujas seções têm a forma de polígonos regulares são obtidas em fresadoras empregando-se o dispositivo denominado
luneta.
mecanismo Norton.
cabeçote móvel.
aparelho divisor.
placa de castanhas independentes.
{TITLE}
{CONTENT}
{TITLE}
Aguarde, enviando solicitação...