Lista completa de Questões de Conhecimentos Técnicos de um determinado Cargo/Área da Fundação CESGRANRIO (CESGRANRIO) para resolução totalmente grátis. Selecione os assuntos no filtro de questões e comece a resolver exercícios.
Conhecimentos Técnicos de um determinado Cargo/Área - Instrumentação - Fundação CESGRANRIO (CESGRANRIO) - 2006
Os instrumentos mais modernos, como analisadores e transmissores, utilizam cada vez mais os circuitos microprocessados para um incremento em suas capacidades operacionais. Estes circuitos devem ter, armazenadas, inúmeras informações, como:
do sensor utilizado;
Programa Executável - Informação que praticamente não muda, nem com o tempo, nem com o equipamento.Tendo por base estas informações, assinale a alternativa que expressa o tipo de memória utilizada para armazenar cada uma delas





Conhecimentos Técnicos de um determinado Cargo/Área - Elétrica / Eletrônica - Fundação CESGRANRIO (CESGRANRIO) - 2006
A tensão no primário de um transformador abaixador do tipo Delta-Estrela é de 13.000 volts e a relação de espiras entre os enrolamentos primários e secundários é 25. A tensão de linha no secundário desse transformador, em volts, é:
520




Conhecimentos Técnicos de um determinado Cargo/Área - Instrumentação - Fundação CESGRANRIO (CESGRANRIO) - 2006
Os Sistemas de Supervisão e Controle são divididos em níveis ou camadas. Cada uma delas desempenha funções específicas dentro do Controle de Processos Industriais. O sistema de controle SCADA (Supervisory Control and Data Aquisition) é adequado a processos com grupos de poucas variáveis contínuas e discretas, grupos estes dispersos em uma grande área geográfica. Assinale a opção que corresponde à seqüência correta dos níveis, do mais alto de controle (1º) até o nível do processo (7º).





Conhecimentos Técnicos de um determinado Cargo/Área - Elétrica / Eletrônica - Fundação CESGRANRIO (CESGRANRIO) - 2006
Considere que os sinais lógicos A, B, C e D estejam disponíveis. Deseja-se implementar a expressão booleana
. Dispondo apenas de portas NAND com duas entradas, o número mínimo necessário destas portas para implementar a função Y é:
Conhecimentos Técnicos de um determinado Cargo/Área - Instrumentação - Fundação CESGRANRIO (CESGRANRIO) - 2006
A opção pela implementação de sistemas de controle baseados em redes requer um estudo para determinar que tipo de rede apresenta as maiores vantagens de implementação ao usuário final, o que requer a análise dos dois protocolos distintos:
HART (Highway Adress Remote Transducer), que consiste num sistema a dois fios e arquitetura estrela e é baseado no sistema mestre/escravo, permitindo a existência de dois mestres na rede, simultaneamente;
FIELDBUS (ISA SP-50), que é um sistema a dois fios com arquitetura em barramento, que pode ter controle distribuído (cada instrumento tem a capacidade de processar um sinal recebido e enviar informações a outros instrumentos).
Dentre as alternativas abaixo, indique aquela que expressa, corretamente, uma comparação entre estes protocolos.
A diferença na quantidade de cabos e caixas de passagem entre os dois protocolos é inexistente, já que os dois utilizam dois fios.
Os dois podem utilizar sistemas de comunicação via fibra ótica, o que implica inexistência de diferença significativa na quantidade de cabos e caixas de passagem entre os dois protocolos.
O Protocolo HART permite uma grande economia em sua implantação, pela redução na quantidade de cabos e caixas de passagem, já que a utilização do sistema mestre/escravo permite uma simplificação nas ligações.
O Protocolo FIELDBUS poderia permitir uma grande economia em sua implantação, pela redução na quantidade de cabos e caixas de passagem em função da utilização da arquitetura em barramento, mas tal fato não ocorre dada a complexidade da implantação do controle distribuído.
O Protocolo FIELDBUS permite uma grande economia em sua implantação, devido à redução na quantidade de cabos e caixas de passagem pela utilização da arquitetura em barramento.
Conhecimentos Técnicos de um determinado Cargo/Área - Elétrica / Eletrônica - Fundação CESGRANRIO (CESGRANRIO) - 2006
O projeto para iluminação de um ambiente com pé-direito de 3,5 m exige um iluminamento de, pelo menos, 100 lux, utiizando uma quantidade mínima de luminárias. A luminária mais indicada para esse ambiente, de acordo com as respectivas curvas (na mesma escala) de distribuição luminosa, é:





Conhecimentos Técnicos de um determinado Cargo/Área - Instrumentação - Fundação CESGRANRIO (CESGRANRIO) - 2006
Assinale a opção que corresponde à correta definição do modelo PERT-CPM
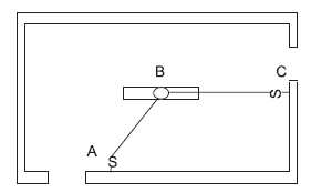
Conhecimentos Técnicos de um determinado Cargo/Área - Elétrica / Eletrônica - Fundação CESGRANRIO (CESGRANRIO) - 2006

Verifica-se no esquema acima a presença de dois interruptores (pontos A e C) do tipo paralelo (three way), uma luminária (ponto B) e as linhas que ligam esses materiais. Para que seja possível o comando da luminária por meio desses interruptores, é necessário que os fios que passam entre os pontos A e B e entre B e C, respectivamente, sejam:
Conhecimentos Técnicos de um determinado Cargo/Área - Instrumentação - Fundação CESGRANRIO (CESGRANRIO) - 2006
A figura abaixo representa a tela de um osciloscópio com escala horizontal de 0,2 microssegundos por divisão e escala vertical de 2 volts por divisão.

Sabendo que o sinal que aparece na tela deste osciloscópio corresponde ao sinal de relógio (clock) do microprocessador de um Controlador Lógico Programável (PLC), o número MÁXIMO de instruções que este PLC pode executar no intervalo de um segundo é:
Conhecimentos Técnicos de um determinado Cargo/Área - Geral - Fundação CESGRANRIO (CESGRANRIO) - 2006
Qual é o mecanismo de defesa que um trabalhador desenvolve quando se sente inferiorizado por ser portador de necessidades especiais e, em decorrência, procura destacar- se profissionalmente no seu grupo?
{TITLE}
{CONTENT}
{TITLE}
Aguarde, enviando solicitação...