Lista completa de Questões de Conhecimentos Técnicos de um determinado Cargo/Área da FUNRIO Fundação de Apoio a Pesquisa, Ensino e Assistência (FUNRIO) para resolução totalmente grátis. Selecione os assuntos no filtro de questões e comece a resolver exercícios.
Conhecimentos Técnicos de um determinado Cargo/Área - Elétrica / Eletrônica - FUNRIO Fundação de Apoio a Pesquisa, Ensino e Assistência (FUNRIO) - 2017
Dentre as alternativas a seguir, aquela que apresenta um tipo de motor elétrico monofásico que funciona com velocidade fixa e com elevada potência é motor de corrente:
Conhecimentos Técnicos de um determinado Cargo/Área - Elétrica / Eletrônica - FUNRIO Fundação de Apoio a Pesquisa, Ensino e Assistência (FUNRIO) - 2017
Sobre a proteção de motores de baixa tensão, analise as afirmativas a seguir.
(I) Os motores de baixa tensão são normalmente protegidos por relé térmico e fusível retardado.
(II) Os dispositivos de proteção instantâneos atuam sobre as correntes assimétricas de partida.
(III) Os dispositivos de proteção devem proteger a curva térmica do motor.
Assinale:
Conhecimentos Técnicos de um determinado Cargo/Área - Elétrica / Eletrônica - FUNRIO Fundação de Apoio a Pesquisa, Ensino e Assistência (FUNRIO) - 2017
A curva característica de um diodo relaciona a tensão aplicada (U) às extremidades do diodo com a corrente elétrica (I) que o atravessa. O gráfico que melhor representa essa relação é:





Conhecimentos Técnicos de um determinado Cargo/Área - Área: Equipamento médico-odontológico - FUNRIO Fundação de Apoio a Pesquisa, Ensino e Assistência (FUNRIO) - 2017
A figura a seguir apresenta um corte longitudinal e a vista lateral de um parafuso com sextavado interno.

Esses parafusos são usualmente fabricados utilizando-se:
Conhecimentos Técnicos de um determinado Cargo/Área - Elétrica / Eletrônica - FUNRIO Fundação de Apoio a Pesquisa, Ensino e Assistência (FUNRIO) - 2017
Mostra-se, a seguir, a tabela verdade de uma porta lógica, onde A e B indicam as entradas e S indica a saída.

Essa porta lógica é do tipo:
Conhecimentos Técnicos de um determinado Cargo/Área - Área: Equipamento médico-odontológico - FUNRIO Fundação de Apoio a Pesquisa, Ensino e Assistência (FUNRIO) - 2017
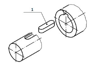
A figura a seguir apresenta uma peça mecânica.

Nessa peça, o elemento indicado pelo número 1 é conhecido como:
Conhecimentos Técnicos de um determinado Cargo/Área - Elétrica / Eletrônica - FUNRIO Fundação de Apoio a Pesquisa, Ensino e Assistência (FUNRIO) - 2017
Observe as características abaixo, que podem ou não ser encontradas em um retificador monofásico AC/DC.
I Os elementos retificadores são somente diodos
II A amplitude da tensão de saída DC é determinada pela amplitude da tensão de alimentação AC
III O ângulo de disparo pode ser ajustado
Um retificador monofásico do tipo controlado apresenta a(s) característica(s):
Conhecimentos Técnicos de um determinado Cargo/Área - Área: Equipamento médico-odontológico - FUNRIO Fundação de Apoio a Pesquisa, Ensino e Assistência (FUNRIO) - 2017

Com base nesse diagrama, pode-se afirmar que a tensão de escoamento desse aço vale:
Conhecimentos Técnicos de um determinado Cargo/Área - Área: Equipamento médico-odontológico - FUNRIO Fundação de Apoio a Pesquisa, Ensino e Assistência (FUNRIO) - 2017
Os elementos de vedação se classificam em dois grupos: os elementos de junções fixas e os de junções móveis. Um tipo de vedação direta para junções fixas recomendado para operações com fluidos de baixa pressão é vedação:
Conhecimentos Técnicos de um determinado Cargo/Área - Área: Equipamento médico-odontológico - FUNRIO Fundação de Apoio a Pesquisa, Ensino e Assistência (FUNRIO) - 2017
Em um retificador de onda completa, a frequência de entrada da onda é de 60Hz. Desta forma, a frequência de saída dessa onda será de:
{TITLE}
{CONTENT}
{TITLE}
Aguarde, enviando solicitação...