Questões de Engenharia Elétrica do ano 2007

Lista completa de Questões de Engenharia Elétrica do ano 2007 para resolução totalmente grátis. Selecione os assuntos no filtro de questões e comece a resolver exercícios.

O sistema de partida estrela-triângulo para motor trifásico tem como principal objetivo

  • A.

    aumentar a tensão de partida.

  • B.

    aumentar a potência do motor durante o arranque.

  • C.

    reduzir a corrente de partida.

  • D.

    reduzir o aquecimento do enrolamento do rotor.

  • E.

    reduzir a dispersão do fluxo magnético durante o arranque.

Uma instalação trifásica na configuração estrela com condutor neutro e tensão de fase de 220 V tem uma tensão de linha de

  • A.

    110 V

  • B.

    127 V

  • C.

    380 V

  • D.

    440 V

  • E.

    680 V

Abaixo está representada a placa de especificações de um motor de indução que fica fixada em sua carcaça. 

INDÚSTRIA BIZANTINA DE MOTORES LTDA

MOTOR DE INDUÇÃO

SAÍDA    1/2HP PÓLO   4
Hz 60  RPM 1720
VOLT 220 AQUEC 60 °C
 AMP  4 SÉRIE N° 0439
 FASE 1    
CLASSE  E    

Considere as proposições abaixo.

I. Trata-se de um motor de passo.

II. A velocidade do rotor à plena carga é de 1720 RPM, com escorregamento aproximado de 4,4%.

III. Por ser uma carga reativa indutiva, ele contribui para a redução do fator de potência da instalação elétrica.

É correto o que se afirma APENAS em

  • A.

    I.

  • B.

    I e II.

  • C.

    I e III.

  • D.

    II.

  • E.

    II e III.

Considere um motor monofásico 127 V/220 V com fase auxiliar e seis terminais de acesso e analise as proposições seguintes.

I. O enrolamento auxiliar atua apenas durante a partida do motor, sendo desligado em seguida por uma chave centrífuga.

II. Para inverter o sentido de rotação, basta inverter a ligação do enrolamento auxiliar.

III. Ele possui dois enrolamentos principais: ligados em série, o motor opera com 127 V; ligados em paralelo, ele opera em 220 V.

É correto o que se afirma APENAS em

  • A.

    I.

  • B.

    I e II.

  • C.

    I e III.

  • D.

    II.

  • E.

    II e III.

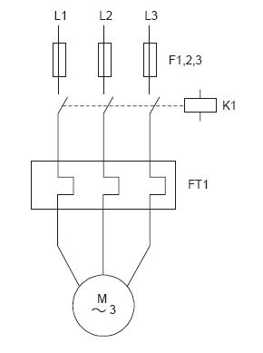
Atenção: As figuras I e II abaixo referem-se às questões de números 52 e 53 e representam, respectivamente, os circuitos de comando e de potência de um motor.

I Circuito de Comando

II Circuito de Potência

Trata-se de um sistema de partida

  • A.

    direta de motor trifásico.

  • B.

    direta de motor trifásico com reostato de controle de velocidade.

  • C.

    direta de motor trifásico com chave de reversão de rotação.

  • D.

    estrela-triângulo de motor trifásico.

  • E.

    estrela-triângulo de motor trifásico com chave de reversão de rotação.

Uma máquina possui um motor elétrico com um sistema de transmissão por correia. O diâmetro da polia motora, que é conectada ao rotor, é de 200 mm, enquanto o diâmetro da polia movida é de 50 mm. Sendo a velocidade do rotor de 1200 RPM, a velocidade da polia movida vale

  • A.

    120 RPM

  • B.

    300 RPM

  • C.

    1200 RPM

  • D.

    4800 RPM

  • E.

    6000 RPM

Considere as seguintes proposições referentes a um alternador síncrono utilizado como gerador de emergência de um grupo diesel-elétrico:

I. Os enrolamentos induzidos estão no estator.

II. O valor da freqüência gerada depende diretamente da rotação de saída do motor diesel.

III. Ele sempre opera com fator de potência unitário.

É correto o que consta APENAS em

  • A. I.
  • B. III.
  • C. I e II.
  • D. I e III.
  • E. II e III.

A finalidade de um sistema de partida de motor com chave estrela-triângulo é a redução

  • A.

    da corrente de partida para  daquela que haveria com partida direta.

  • B.

    da corrente de partida para  daquela que haveria com partida direta.

  • C.

    do torque de partida para  daquele que haveria com partida direta.

  • D.

    do torque de partida para  daquele que haveria com partida direta.

  • E.

    do torque de partida para  e da corrente de partida para  , respectivamente, daqueles que haveriam com partida direta.

Acerca das máquinas de indução, julgue os itens que se seguem.

Nesse tipo de máquina, a corrente elétrica alternada, ao
circular pelo estator, provoca indução de corrente alternada
no rotor.

  • C. Certo
  • E. Errado

Acerca das máquinas de indução, julgue os itens que se seguem.

São exemplos desse tipo de máquina os motores do tipo gaiola de esquilo, os quais têm as barras do rotor curtocircuitadas, e os motores com rotor bobinado, também denominados máquinas com anéis.

  • C. Certo
  • E. Errado
Provas e Concursos

O Provas e Concursos é um banco de dados de questões de concursos públicos organizadas por matéria, assunto, ano, banca organizadora, etc

{TITLE}

{CONTENT}

{TITLE}

{CONTENT}
Provas e Concursos
0%
Aguarde, enviando solicitação!

Aguarde, enviando solicitação...