Lista completa de Questões sobre Sistema de Potência para resolução totalmente grátis. Selecione os assuntos no filtro de questões e comece a resolver exercícios.
A utilização de valores pu em sistemas elétricos de potência apresenta diversas vantagens. Qual alternativa abaixo não apresenta estas vantagens?
A simplificação no cálculo de circuitos com vários transformadores, pois eliminamos a necessidade de converter tensões e correntes, quando passamos de um enrolamento a outro em cada transformador.
Os valores pu fornecem uma visão melhor do problema de vez que, em circuitos com vários transformadores, as quedas de tensão em volt diferem enormemente quando se passa de um circuito de alta tensão para um de baixa, o que não ocorre quando se utilizam valores pu.
Na resolução de circuitos através de algoritmos computacionais, valores numéricos dos parâmetros da rede, das excitações e das respostas são de mesma ordem de grandeza. Esse fato permite obter resultados numéricos de melhor qualidade quando se utiliza uma aritmética de precisão finita, como é o caso dos computadores.
Os valores das impedâncias de máquinas elétricas, se bem que em ohm são muito variáveis de máquina para máquina, em pu são praticamente iguais, independentemente da tensão e da potência da máquina.
Quando trabalharmos com valores em pu não precisamos definir grandezas fundamentais, pois os valores em pu tornam-se valores de base. Se fixarmos valores de base para tensão e corrente, nenhuma outra tensão ou corrente será expressa como uma porcentagem ou uma fração dessa grandeza (valor pu), facilitando, com isso, a resolução de circuitos.

0,5
1,0
1,5
2,0
3,0
Engenharia Elétrica - Sistema de Potência - Centro de Seleção e de Promoção de Eventos UnB (CESPE) - 2011

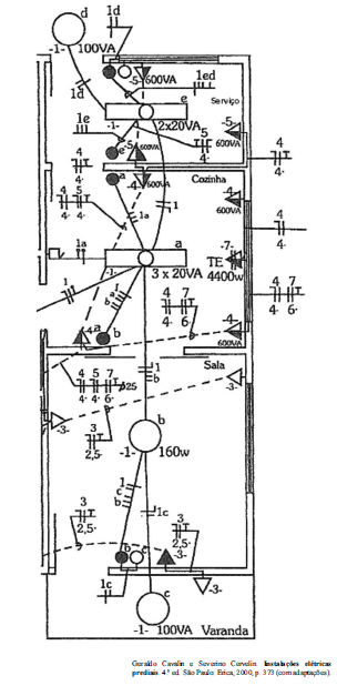
Para o trecho do projeto elétrico mostrado na figura acima, considere que as lâmpadas incandescentes e fluorescentes possuam fator de potência igual a 1. Considere, também, que os reatores sejam do tipo simples, um por lâmpada fluorescente, com fator de potência igual a 0,5 (atrasado) e consumam 5 W cada, e que a rede de alimentação seja bifásica, 220/127 V/60 Hz (duas fases, um neutro e aterramento, F-F-N-T). Suponha, para efeito de orçamento, que a instalação de cada ponto de luz, de interruptor ou de cada ponto de tomada custe R$ 2,00, R$ 11,00 e R$ 10,00, respectivamente, adicionado de R$ 2,00 por condutor diretamente usado em cada componente instalado. A partir dessas informações, julgue os itens de 68 a 76.
A potência necessária para funcionamento das lâmpadas fluorescentes é maior que 120 W.

No contexto do problema da estabilidade angular de sistemas elétricos de potência, é correto afirmar que o(a)
tempo de extinção do curto-circuito para a manutenção da estabilidade na geração termelétrica (gerador de polos lisos), caso o sistema esteja operando na situação I e subitamente passe para a situação II, é maior que o tempo na geração hidrelétrica (gerador de polos salientes), supondo a mesma potência nominal em ambas as usinas.
gerador síncrono, durante a situação II, tenderá a desacelerar, tendo em vista a grande quantidade de potência ativa fornecida pelo gerador.
valor máximo de potência ativa que o gerador pode fornecer na situação III é maior que na situação IV.
fem do gerador não é afetada pela variação na velocidade do rotor nas situações II e III.
diferença de fase entre a fem do gerador e a tensão na barra infinita na situação I, em regime permanente, para que a potência elétrica fornecida pelo gerador seja a mesma nas situações I e IV, é maior que na situação IV.
Engenharia Elétrica - Sistema de Potência - Centro de Seleção e de Promoção de Eventos UnB (CESPE) - 2009
Acerca de materiais utilizados na construção de equipamentos elétricos para sistemas de potência, julgue os itens a seguir. Atualmente, além do óleo mineral e do ascarel, a fibra de carbono tem sido utilizada como meio isolante para proteção contra arco elétrico em transformadores de potência.
Engenharia Elétrica - Sistema de Potência - Centro de Seleção e de Promoção de Eventos UnB (CESPE) - 2009
Acerca de materiais utilizados na construção de equipamentos elétricos para sistemas de potência, julgue os itens a seguir. Assim como os transformadores de potência, os transformadores de potencial e de corrente também são dotados de um núcleo constituído por material ferromagnético.
Engenharia Elétrica - Sistema de Potência - Centro de Seleção e de Promoção de Eventos UnB (CESPE) - 2009
Julgue os itens que se seguem, acerca de disjuntores utilizados em sistemas elétricos de potência que operam em alta tensão.
Nos disjuntores a óleo, os dispositivos de interrupção são imersos no óleo isolante.
Engenharia Elétrica - Sistema de Potência - Centro de Seleção e de Promoção de Eventos UnB (CESPE) - 2009
Julgue os itens que se seguem, acerca de disjuntores utilizados em sistemas elétricos de potência que operam em alta tensão.
Quanto ao volume, os disjuntores a óleo são classificados pelos fabricantes em cinco categorias, sendo o tipo disjuntor a pequeno volume de óleo o mais utilizado em sistemas de extra alta tensão.
Engenharia Elétrica - Sistema de Potência - Centro de Seleção e de Promoção de Eventos UnB (CESPE) - 2009
O domínio da eletrônica industrial pode ser subdividido em eletrônica de potência e eletrônica de regulação e comando. A eletrônica de potência é a aplicação de dispositivos semicondutores em sistemas elétricos de potência. Por meio dos dispositivos semicondutores de potência, associados a outros circuitos eletrônicos, podem-se acionar e controlar diversos tipos de cargas industriais. A amplificação da potência e a potência dos dispositivos envolvidos são preponderantes.
A partir do texto acima, julgue os itens a seguir.
Não há reversão da voltagem de saída em circuitos retificadores que estejam alimentando cargas puramente resistivas. Logo, a forma da tensão elétrica na saída do retificador e as características de controle são similares àquelas obtidas com diodo de circulação em cargas indutivas.
Engenharia Elétrica - Sistema de Potência - Centro de Seleção e de Promoção de Eventos UnB (CESPE) - 2009
O domínio da eletrônica industrial pode ser subdividido em eletrônica de potência e eletrônica de regulação e comando. A eletrônica de potência é a aplicação de dispositivos semicondutores em sistemas elétricos de potência. Por meio dos dispositivos semicondutores de potência, associados a outros circuitos eletrônicos, podem-se acionar e controlar diversos tipos de cargas industriais. A amplificação da potência e a potência dos dispositivos envolvidos são preponderantes.
A partir do texto acima, julgue os itens a seguir.
Nos conversores CC-CC que utilizam fontes de energia que não possuem indutância interna, como baterias de acumuladores, a corrente de entrada pode variar rapidamente e, além disso, a potência absorvida pela carga é a mesma fornecida na entrada do conversor.
{TITLE}
{CONTENT}
{TITLE}
 
        Aguarde, enviando solicitação...